- 
                                
                                
		 Huấn Hoa Hồng gặp "biến căng" trong kinh doanh, lộ bí mật đằng sau dàn siêu xe bạc tỷ Huấn Hoa Hồng gặp "biến căng" trong kinh doanh, lộ bí mật đằng sau dàn siêu xe bạc tỷ
- 
                                
                                
		 Chỉ cần nhìn vào 3 điều này, bạn sẽ biết hôm nhân của người phụ nữ có hạnh phúc hay không Chỉ cần nhìn vào 3 điều này, bạn sẽ biết hôm nhân của người phụ nữ có hạnh phúc hay không
- 
                                
                                
		 Bí quyết vàng cấp đông hạt dẻ: Trữ một lần, thưởng thức trọn vị bùi dẻo tới tận Tết Bí quyết vàng cấp đông hạt dẻ: Trữ một lần, thưởng thức trọn vị bùi dẻo tới tận Tết
- 
                                
                                
		 "Đu đỉnh" vàng, cắt lỗ bất thành: Người Hà Nội đứng ngồi không yên giữa cơn sóng giá vàng! "Đu đỉnh" vàng, cắt lỗ bất thành: Người Hà Nội đứng ngồi không yên giữa cơn sóng giá vàng!
- 
                                
                                
		 Đại biểu Quốc hội hiến kế huy động 500 tấn vàng trong dân Đại biểu Quốc hội hiến kế huy động 500 tấn vàng trong dân
- 
                                
                                
		 Camera ghi lại cảnh nhóm nam sinh đánh nhau dã man bên đường, 1 người bị co giật, công an vào cuộc Camera ghi lại cảnh nhóm nam sinh đánh nhau dã man bên đường, 1 người bị co giật, công an vào cuộc
- 
                                
                                
		 Thanh niên 20 tuổi trúng độc đắc tiền tỷ nhưng giấu gia đình: Tiết lộ lý do... sốc! Thanh niên 20 tuổi trúng độc đắc tiền tỷ nhưng giấu gia đình: Tiết lộ lý do... sốc!
- 
                                
                                
		 Lấy anh thợ xây để hợp thức hóa cái thai, khi con 3 tuổi, tôi bủn rủn thấy thứ này trong ví chồng, không ngờ anh lại là người như thế... Lấy anh thợ xây để hợp thức hóa cái thai, khi con 3 tuổi, tôi bủn rủn thấy thứ này trong ví chồng, không ngờ anh lại là người như thế...
- 
                                
                                
		 Người phụ nữ mắc ung thư phổi giai đoạn cuối, bật khóc khi biết "thủ phạm" chính từ chống con Người phụ nữ mắc ung thư phổi giai đoạn cuối, bật khóc khi biết "thủ phạm" chính từ chống con
- 
                                
                                
		 Từ sinh viên công nghệ đến kẻ cầm súng sát hại 3 người ở Đồng Nai: Hé lộ kế hoạch lạnh người trước khi gây án Từ sinh viên công nghệ đến kẻ cầm súng sát hại 3 người ở Đồng Nai: Hé lộ kế hoạch lạnh người trước khi gây án
Công nghệ
09/04/2019 17:36iPhone tương lai có thể cứu mạng người nhờ cái đặc biệt này
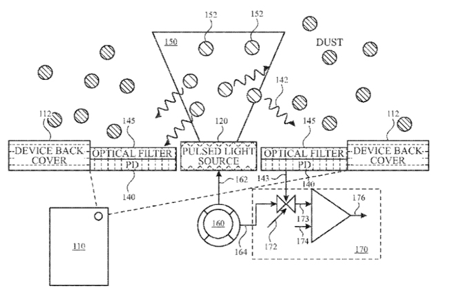
Tiếp tục nhấn mạnh vào tính năng chăm sóc sức khỏe, Apple đã nộp một vài bằng sáng chế cho Văn phòng nhãn hiệu và bằng sáng chế của Mỹ liên quan đến công nghệ có thể giúp người dùng iPhone và Apple Watch trở nên khỏe mạnh hơn. Ứng dụng bằng sáng chế đầu tiên có tên "Compact Particulate Material Sensor” (Tạm dịch: Cảm biến hạt ô nhiễm siêu nhỏ), sẽ cho phép một thiết bị Apple "ngửi" các chất ô nhiễm trong không khí mà mắt người không thể phát hiện rõ ràng. Những hạt này có thể bị con người hít phải, dẫn đến suy hô hấp.
 
 Apple cho biết công ty sẽ trang bị cho thiết bị cảm biến có thể phát hiện ánh sáng từ các hạt bụi. Đồng thời, nó sẽ có thể bỏ qua ánh sáng xung quanh từ mặt trời và từ bóng đèn. Cảm biến có thể được tích hợp vào mặt sau của thiết bị, gần camera của iPhone.
 
 Cảm biến sẽ phát ra ánh sáng IPL ở một bước sóng cụ thể để khám phá các hạt ô nhiễm. Tuy nhiên, Apple cũng lưu ý rằng các thiết bị này vẫn còn "một số thiếu sót."
 
 Ứng dụng bằng sáng chế thứ hai có tên là “Systems and Methods for Environment Sensing” (Tạm dịch: "Hệ thống cảm biến môi trường") và có tính năng phát hiện các hóa chất trong không khí. Các cảm biến trên iPhone hoặc Apple Watch sẽ nhận biết được các "mùi liên quan đến hóa chất".
 
 Một động cơ Trí thông minh nhân tạo (AI) sẽ được sử dụng để nhận biết các mùi khác nhau. Ví dụ, carbon monoxide là một loại khí không mùi có thể giết người trong không gian kín. Việc người dùng nhận được cảnh báo từ iPhone hoặc Apple Watch có thể cứu được mạng sống của chính mình. Trên thực tế, thống kê từ Trung tâm kiểm soát dịch bệnh (CDC) cho thấy 430 người Mỹ thiệt mạng mỗi năm do ngộ độc carbon monoxide. Nếu nhận được cảnh báo như vậy, người dùng có thể nhanh chóng di chuyển đến một địa điểm an toàn.
Thiết bị của Apple có thể cứu mạng người dùng bằng cách “ngửi” mồ hôi
Theo Apple, công nghệ trong bằng sáng chế này có thể được sử dụng để đo các hợp chất trong mồ hôi của con người. Với cả người dùng iPhone hoặc Apple Watch, các cảm biến có thể phát hiện xem người này có lượng đường trong máu cao hay thấp.
 
 Ví dụ, một người cảm thấy đau đầu nhẹ và chóng mặt có thể rơi vào nguy cơ bị bất tỉnh. Phương thuốc đưa ra lúc này thực sự đơn giản: ăn một thanh sô cô la hoặc uống một loại soda có đường, sẽ làm tăng lượng đường trong máu của người đó và đưa người này ra khỏi tình trạng nguy hiểm. Tuy nhiên, đối với hầu hết mọi người, khi rơi vào trạng thái này, họ sẽ không suy nghĩ được biện pháp trên. Trong trường hợp này, một cảnh báo sớm từ thiết bị di động sẽ rất hữu ích.
 
 Những người đổ mồ hôi có khả năng mắc bệnh tiểu đường sẽ nhận được thông báo lượng đường trong máu cao thông qua iPhone hoặc Apple Watch. Họ sẽ phải đến bác sĩ hoặc dùng máy chuyên dụng để có được chẩn đoán chính xác. Sau khi có được dữ liệu, bệnh nhân tiểu đường có thể phải tiêm insulin.
 
 Cả hai bằng sáng chế đã được nộp cùng lúc vào tháng 9 năm ngoái. Thông thường, Apple nộp không ít bằng sáng chế mỗi năm nhưng chỉ một tỷ lệ nhỏ trong số này được sử dụng trong thiết bị của Apple. Nếu được đưa vào thực tế trong iPhone, chắc chắn người dùng sẽ phải chờ khá lâu nữa.
Theo An Nhiên (Dân Việt)
 
									 
									 
									 
									 
									 
									 
									 
									- TP HCM: Người đàn ông tử vong trong căn nhà khóa trái cửa, nghi bị vợ sát hại (10:50)
- Huấn Hoa Hồng gặp "biến căng" trong kinh doanh, lộ bí mật đằng sau dàn siêu xe bạc tỷ (10:45)
- Kim Yoo Jung lên tiếng về nghi vấn hẹn hò tại Việt Nam (10:41)
- Chỉ cần nhìn vào 3 điều này, bạn sẽ biết hôm nhân của người phụ nữ có hạnh phúc hay không (10:32)
- Vỡ mộng với robot "quản gia" giá 22.000 USD: Màn trình diễn ấn tượng hóa ra chỉ là trò "điều khiển từ xa" gây sốc (10:20)
- Nguy cơ khủng hoảng đói nghèo: New York ban bố tình trạng khẩn cấp khi 3 triệu người sắp mất tem phiếu thực phẩm! (10:17)
- Vụ cá sấu sổng chuồng cắn thầy giáo ở Tây Ninh: Lời khai bất ngờ từ người nuôi (1 giờ trước)
- Bí quyết vàng cấp đông hạt dẻ: Trữ một lần, thưởng thức trọn vị bùi dẻo tới tận Tết (1 giờ trước)
- Cụ ông ở Phúc Thọ vội vã thống kê tiền, vàng, sổ đỏ... sau cuộc gọi lạ (1 giờ trước)
- Xử lý học sinh vi phạm có thể áp dụng biện pháp giáo dưỡng, cộng đồng (1 giờ trước)
 
									 
									 
									 
									 
									 
								 
								 
								 
								 
								