Cập nhật: Sáng 8/10, Hà Nội còn 13 điểm ngập...
Lạnh người trước nụ cười của nghi phạm vụ thảm...
Bóng đá Nhật Bản rúng động, quan chức Liên đoàn...
Podcast: Sau một tuần, Hà Nội đã biết “học bài”...
Thông tin vỡ đê sông Thương Bắc Ninh không chính...
Tóc Tiên sao lại thế này?
Cuộc đời bi kịch của những đứa trẻ sinh ra...
Ba đợt ngập lịch sử chỉ trong hơn một tháng:...
Hạn chế thấp nhất thiệt hại do mưa lũ
Thủ tướng chỉ đạo đảm bảo an toàn hồ đập,...
Cập nhật: Sáng 8/10, Hà Nội còn 13 điểm ngập...
Lạnh người trước nụ cười của nghi phạm vụ thảm...
Bóng đá Nhật Bản rúng động, quan chức Liên đoàn...
Podcast: Sau một tuần, Hà Nội đã biết “học bài”...
Thông tin vỡ đê sông Thương Bắc Ninh không chính...
Tóc Tiên sao lại thế này?
Cuộc đời bi kịch của những đứa trẻ sinh ra...
Ba đợt ngập lịch sử chỉ trong hơn một tháng:...
Hạn chế thấp nhất thiệt hại do mưa lũ
Thủ tướng chỉ đạo đảm bảo an toàn hồ đập,...
Tin mới
Thanh niên ngáo đá
Trang 1
Nam thanh niên nghi ngáo đá cố thủ trong nhà dân suốt đêm
“Anh ta có biểu hiện ngáo đá, liên tục nôn ói và gọi ba mẹ tới cứu. Khi công an gọi cửa, anh ta dọa ai bước vào sẽ tự đâm mình”, nữ chủ nhà nói.
17/12/2016 18:06:00

Đề nghị chuyển công tác hiệu phó đưa 6 nữ sinh đi hát karaoke
Nhiều phụ huynh Trường THCS Bình Sơn, Triệu Sơn, (Thanh Hóa) bức xúc việc thầy Nguyễn Thế Sơn đưa 6 nữ sinh lớp 9 đi hát karaoke.
22/09/2016 03:48:00

Hà Nội: Cô gái trẻ nghi ngáo đá ngồi vỉa hè nói nhảm, đòi lao vào đầu xe ô tô tự tử
Một đoạn clip dài hơn 4 phút ghi lại hình ảnh cô gái ngoài 20 tuổi với biểu hiện ngáo đá liên tục đòi ra đường lao vào các phương tiện tham gia giao thông với ý định tự tử.
27/08/2016 02:21:00

Bún bò Huế được đăng ký bảo hộ, bán bún bò phải xin phép?
Sau khi UBND tỉnh Thừa Thiên- Huế ban hành Quy chế quản lý và sử dụng nhãn hiệu chứng nhận “Bún bò Huế” nhiều người băn khoăn, thắc mắc phải chăng muốn bán bún bò Huế thì phải xin phép?
06/08/2016 04:45:00

Thanh niên "ngáo đá" đòi đốt CSGT, náo động đường phố
Một thanh niên có biểu hiện “ngáo đá” đã bị CSGT khống chế tại chỗ khi dùng bật lửa và cây kéo nhọn dọa tấn công lực lượng làm nhiệm vụ.
04/08/2016 01:40:00

Trần tình của hiệu phó dùng ảnh nóng tống tiền người tình
Ngoài những bức ảnh nóng do ông chụp, còn lại những video “nóng” là do cô giáo chụp sau đó gửi qua Zalo cho ông xem...
03/08/2016 22:06:00

Xem xét khởi tố vụ Hiệu phó dùng ảnh "nóng" tống tiền người tình cũ
Công an TP Tam Kỳ (Quảng Nam) chuẩn bị hoàn tất hồ sơ khởi tố ông Trần Kim Nh. về hành vi dùng ảnh nóng để tống tiền nữ giáo viên cùng trường đồng thời là người tình cũ của mình.
02/08/2016 13:54:00

Sự thật choáng váng đằng sau vụ hiệu phó dùng ảnh nóng tống tiền nữ giáo viên?
Cả vị Phó hiệu trưởng và cô giáo đều đã có gia đình, nhưng cả hai đã lén lút quan hệ tình cảm với nhau rồi ghi lại những hình ảnh mặn nồng.
01/08/2016 18:03:00

Người Sài Gòn hết "rồng rắn" làm hộ chiếu vì đăng ký qua mạng
Với việc khai hồ sơ qua Internet, tình trạng "rồng rắn" chờ đến lượt cấp đổi hộ chiếu như trước đây không còn.
17/05/2016 03:36:00

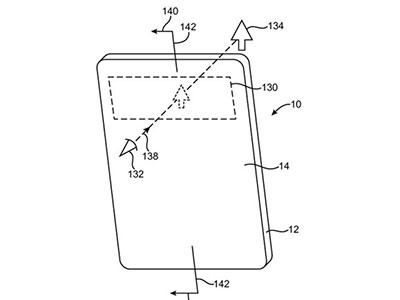
Apple vừa đăng ký bằng sáng chế vỏ iPad có màn hình hiển thị
Theo trang tin The Verge, Apple vừa mới đăng ký bằng sáng chế tạo ra một phụ kiên vỏ iPad với các màn hình có thể hiện thị một số thông tin trên máy tính bảng iPad.
11/05/2016 16:19:00

Hà Nội tiếp nhận đăng ký 5.500 liều vắc xin Pentaxim
Trung tâm Y tế dự phòng Hà Nội cho biết, trong tháng 5/2016, Trung tâm sẽ tổ chức đăng ký và tiêm chủng vắc xin Pentaxim với số lượng là 5.500 liều.
04/05/2016 14:21:00

Chỉ cần gọi điện đăng ký để mua tiền lưu niệm
Trong ngày đầu tiên mở bán tiền lưu niệm 100 đồng buổi sáng cùng ngày, nhiều người đã xếp hàng trước trụ sở NHNN TP.HCM để chờ mua tờ tiền này nhưng chỉ 50 người có tên trong danh sách mới được mua.
23/04/2016 15:03:05

Donald Trump dùng máy bay đã quá hạn đăng ký
Một máy bay trong “phi đội” gồm tới 4 chiếc của ứng viên tổng thống Mỹ giàu sụ Donald Trump đã phải nằm đất. Trước đó có tin ông Trump liên tục dùng nó dù đã hết hạn đăng ký từ hồi tháng 1 vừa qua.
21/04/2016 22:37:42

Cẩn trọng khi đăng ký dự thi để tránh rớt oan
Thí sinh hoàn toàn chịu trách nhiệm về thông tin khai trong phiếu đăng ký dự thi. Nếu khai không chính xác, thí sinh sẽ gặp nhiều rắc rối sau này, kể cả tình huống đậu thành rớt.
12/04/2016 18:53:43

Samsung đăng ký sáng chế kính áp tròng gắn camera
Tương lai tất cả chúng ta sẽ đeo loại kính áp tròng gắn camera giống như các điệp viên trên phim ảnh.
07/04/2016 17:05:51

Vinaphone thừa nhận tự động đăng ký dịch vụ trừ tiền khách hàng
Nhà mạng Vinaphone thừa nhận chủ thuê bao 0948xxxxxx, ông V.N.H. không thực hiện nhắn tin đăng ký dịch vụ Video Clip và bị trừ tiền hàng ngày.
06/04/2016 18:24:35

Cách chức hiệu trưởng, hiệu phó trường mầm non ăn bớt thịt của trẻ
Sau khi phản ánh, Trường mầm non xã Xuân Phổ, Nghi Xuân (Hà Tĩnh), UBND huyện Nghi Xuân vừa ra quyết định kỷ luật cách chức, chuyển công tác Hiệu trưởng và Hiệu phó trường này. Kế toán trường này cũng bị kỷ luật mức khiển trách.
23/01/2016 03:12:43

Hà Nội: Khống chế kẻ ngáo đá náo loạn cả khu phố
Cơ quan công an vừa khống chế thành công một nam thanh niên nghi bị ngáo đá làm náo loạn cả khu phố.
02/01/2016 14:38:40

Những vụ "ngáo đá" bi hài nhất năm 2015
Nhiều người dùng ma túy đá khi rơi vào trạng thái “ngáo đá” (ảo giác do phê ma túy) đã gây ra những sự việc hy hữu như nhảy từ bảo tháp cao 30 mét xuống đất, đi trên dây điện cao thế…
21/12/2015 18:34:40

Thanh niên "ngáo đá" cởi trần bơi trong giá rét 11 độ C
Được cảnh sát giao thông đường thủy vận động lên bờ, nam thanh niên không hợp tác, còn bốc bùn và gạch đá ném.
17/12/2015 23:20:40
Bài đọc nhiều