-
Danh tính người phụ nữ phơi lúa lấn chiếm lòng đường rồi dùng cào tấn công tài xế, bị xử lý ra sao? -
Toàn bộ lời khai của Bùi Đình Khánh: Hé lộ lý do nổ súng gây bất ngờ? Quá trình tẩu thoát đầy kịch tích -
Bùi Đình Khánh khai về phát súng khiến thiếu tá công an hy sinh, lý do không lên xe bạn gái sắp xếp khi bỏ trốn -
Chở can xăng bị rò rỉ, người đàn ông bất ngờ bốc cháy cùng xe máy giữa trưa -
Xót xa cảnh cậu bé học lớp 6 hoảng sợ, liên tục khóc sau khi bị mẹ kế đánh đến mức không mở nổi mắt -
Sau lời nhắn "Tạm biệt người anh yêu", nghi phạm sát hại vợ cũ ở Quảng Trị đã treo cổ tự tử -
Bộ Chính trị điều chỉnh phân cấp quản lý cán bộ và danh mục chức danh lãnh đạo một số cơ quan Trung ương -
Nữ sinh Đồng Tháp gây "bão mạng" với clip 21 giây trong lớp học, gợi nhớ thanh xuân tuổi học trò -
Tài xế Mercedes dừng xe giữa cao tốc Nội Bài – Lào Cai để tranh cãi, bị xử phạt nặng -
Xác minh clip hai người đàn ông dừng xe, đuổi đánh nhau trên đại lộ ở TPHCM
Công nghệ
19/01/2021 20:31Chen chân vào sản xuất xe điện, Apple Car có thể có tính năng gì khi ra mắt
Trong vài năm gần đây, các tin đồn về chiếc xe điện Apple Car đang nổi lên ngày càng nhiều hơn, nhưng thường liên quan đến các bằng sáng chế của công ty hơn. Ví dụ trong năm 2017, một bằng sáng chế của Apple cho thấy dấu hiệu đầu tiên về một chiếc xe tự lái của Apple.
Vào tuần trước, báo cáo mới của Reuters cho biết việc Apple và Hyundai đang ký kết thỏa thuận để sản xuất phiên bản beta đầu tiên cho chiếc Apple Car này tại Mỹ vào năm 2022. Đây có thể là một trong nhiều canh bạc lớn mà công ty sẽ thực hiện trong thập kỷ tới, và có thể phải đối mặt với việc cạnh tranh khốc liệt từ các hãng xe điện khác.

Tuy vậy, các nhà phân tích phố Wall cũng cho rằng Apple có nhiều lợi thế quan trọng, một phần là thương hiệu mạnh của họ. Ngoài ra là sản phẩm của một người khổng lồ công nghệ, gần như chắc chắn chiếc xe điện Apple Car sẽ mang trên mình không ít các công nghệ thú vị. Một trong các minh chứng cho điều đó là các bằng sáng chế liên quan đến ô tô được Apple đăng ký từ nhiều năm nay.
Dưới đây là các bằng sáng chế cho thấy chiếc xe điện của Apple sẽ như thế nào khi nó ra mắt. Mặc dù vậy, một điều cần lưu ý rằng, không có gì đảm bảo rằng mọi ý tưởng trong bằng sáng chế này sẽ trở thành hiện thực.
Hình ảnh 3 chiều holographic trên kính chắn gió

Theo bằng sáng chế số 10.866.414 B2 có tên "System with Holographic Head-Up Display" (Hệ thống với màn hình Holographic phía trước), kính chắn gió trên chiếc xe của Apple có thể có khả năng hiển thị hình ảnh 3 chiều Holographic.
Trong bằng sáng chế này, các nhà thiết kế Apple mô tả về một hệ thống có thể chiếu các hình ảnh 3 chiều holographic trên kính chắn gió hoặc các cửa sổ khác của ô tô. Các hình ảnh này có thể chứa thông tin về chiếc xe – bao gồm "tốc độ, hướng đi và vị trí" – hoặc thông tin về những gì xảy ra bên trong chiếc xe, như bài hát nào đang chơi trên radio.
Bảng điều khiển cảm ứng được giấu kín

Theo bằng sáng chế số 10.656.777 B1 có tên "Concealed User Interfaces" (Các giao diện người dùng được giấu kín), màn hình cảm ứng hay các bảng điều khiển khác được giấu trong cánh cửa, cửa sổ hoặc các bề mặt khác.
Bằng sáng chế này cũng mô tả việc các hành khách có thể chạm, bấm và nhấn vào bề mặt xung quanh. Một thiết bị nhập liệu đầu vào "được giấu bên dưới bề mặt" khi chạm vào sẽ sáng lên.
Giải pháp chống say xe

Với những người bị chứng say xe, Apple có thể có một giải pháp cho họ, theo như bằng sáng chế số 10.825.255 B2 của công ty có tên "Augmented Virtual Display" (Màn hình ảo tăng cường).
Bằng sáng chế cho biết về một hệ thống thực tế tăng cường để chiếu lên những hình ảnh được làm ổn định cho những hành khách bị say xe. Theo bằng sáng chế: "Hệ thống VR này cũng có thể cải thiện năng suất, khi các hành khách có thể làm việc trong khi đang ngồi trong xe mà không bị say xe."
Hệ thống đổi màu cửa sổ thông minh

Bằng sáng chế số 10.843.535 B1 còn cho thấy chiếc xe của Apple có thể sẽ có một tính năng thú vị khác khi cho phép người dùng có thể đổi màu kính cửa sổ để đảm bảo sự riêng tư.
Có tên "System and Method for Dynamic Privacy and Window Tinting" (Hệ thống và phương pháp đổi màu chủ động cho cửa sổ và sự riêng tư), bằng sáng chế mô tả về một hệ thống với tấm phim có thể điều chỉnh màu sắc, được dán trên cửa sổ và kính chắn gió. Nó có thể đổi màu để chắn ánh sáng từ bên ngoài cũng như bảo vệ tính riêng tư cho hành khách ngồi bên trong.
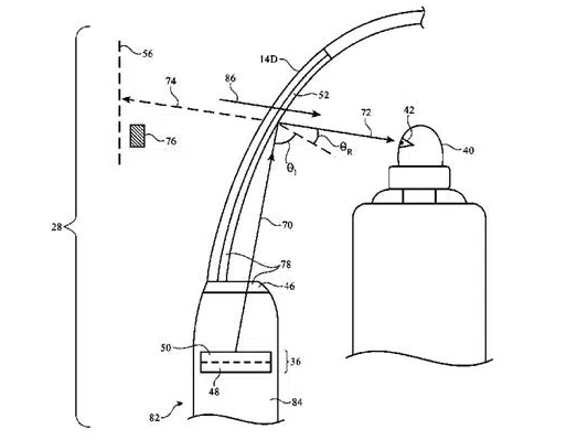
Hệ thống cảnh báo mới cho lái xe

Bằng sáng chế số 10.878.699 B2 còn hé lộ về một tính năng hữu ích khác có thể xuất hiện trên chiếc xe của Apple. Có tên "Wireless Vehicle System for Enhancing Situational Awareness" (Hệ thống không dây nhằm cải thiện khả năng phát hiện tình huống), hệ thống trong bằng sáng chế có thể phát đi "các cảnh báo cho tài xế về một phương tiện hoặc các tình huống khác đang xảy ra dựa trên vị trí của những phương tiện xung quanh, thông tin loại phương tiện và thông tin khác về giao thông xung quanh lái xe".
Minh họa của bằng sáng chế còn mô tả về các cảnh báo có thể sẽ được gửi cho tài xế, ví dụ "Ambulance Passing Pull Over Now" (Xe cấp cứu đang vượt, tránh đường ngay) và "Alert Car Passing On Right" (Cảnh báo có xe vượt phải).
Hệ thống kiểm soát nhiệt độ mới

Bằng sáng chế số 10.875.380 B2 của Apple còn mô tả về một hệ thống kiểm soát nhiệt độ mới có tên "Climate Control". Bằng sáng chế này mô tả chi tiết cách xác định "các điều kiện thoải mái tối ưu" trong nhiều tình huống khác nhau.
Nó sẽ bao gồm "nhiều linh kiện của phương tiện để kiểm soát các điều kiện khí hậu, bao gồm cụm cửa sổ, cụm cửa sổ trời, …" Nó sẽ xác định khí hậu dựa trên "nhiệt độ cảm nhận của các bộ phận khác nhau trên cơ thể" để đưa ra các điều chỉnh phù hợp.
Tham khảo Business Insider
Theo Nguyễn Hải (Pháp Luật & Bạn Đọc)
- Triển khai chương trình khám sức khỏe định kỳ miễn phí toàn quốc cho người dân, khoảng 350.000 đồng/lượt (19:02)
- Chấn động showbiz Thái: Cuộc đối đầu nảy lửa và bằng chứng mới trong vụ tố xâm hại tại gia tộc tỷ đô (53 phút trước)
- Petrolimex chính thức niêm yết giá xăng sinh học E10: Ưu đãi hơn so với xăng khoáng RON 95 (1 giờ trước)
- WHO nhận định về Hantavirus: Khó bùng phát thành đại dịch như Covid-19 (2 giờ trước)
- Hàng xóm tiết lộ tình tiết nóng vụ sát hại bạn gái đang mang thai rồi thản nhiên nằm ngủ bên thi thể nhiều lần (2 giờ trước)
- Thông tin chính thức ngày xét xử hai tên cướp ngân hàng 1,9 tỷ: Cả hai đều bị xét xử 3 tội danh? (2 giờ trước)
- Danh tính người phụ nữ phơi lúa lấn chiếm lòng đường rồi dùng cào tấn công tài xế, bị xử lý ra sao? (2 giờ trước)
- Đạo diễn Nguyễn Quang Dũng và NSƯT Tân Nhàn đồng loạt "kêu cứu" (3 giờ trước)
- Tự bỏ thuốc để uống thuốc nam, người phụ nữ từ suy thận giai đoạn 4 phải chạy thận suốt đời (3 giờ trước)
- Toàn bộ lời khai của Bùi Đình Khánh: Hé lộ lý do nổ súng gây bất ngờ? Quá trình tẩu thoát đầy kịch tích (3 giờ trước)