-
Danh tính người phụ nữ phơi lúa lấn chiếm lòng đường rồi dùng cào tấn công tài xế, bị xử lý ra sao? -
Toàn bộ lời khai của Bùi Đình Khánh: Hé lộ lý do nổ súng gây bất ngờ? Quá trình tẩu thoát đầy kịch tích -
Bùi Đình Khánh khai về phát súng khiến thiếu tá công an hy sinh, lý do không lên xe bạn gái sắp xếp khi bỏ trốn -
Chở can xăng bị rò rỉ, người đàn ông bất ngờ bốc cháy cùng xe máy giữa trưa -
Xót xa cảnh cậu bé học lớp 6 hoảng sợ, liên tục khóc sau khi bị mẹ kế đánh đến mức không mở nổi mắt -
Sau lời nhắn "Tạm biệt người anh yêu", nghi phạm sát hại vợ cũ ở Quảng Trị đã treo cổ tự tử -
Bộ Chính trị điều chỉnh phân cấp quản lý cán bộ và danh mục chức danh lãnh đạo một số cơ quan Trung ương -
Nữ sinh Đồng Tháp gây "bão mạng" với clip 21 giây trong lớp học, gợi nhớ thanh xuân tuổi học trò -
Tài xế Mercedes dừng xe giữa cao tốc Nội Bài – Lào Cai để tranh cãi, bị xử phạt nặng -
Xác minh clip hai người đàn ông dừng xe, đuổi đánh nhau trên đại lộ ở TPHCM
Công nghệ
18/06/2018 17:34iPhone mới có thể trang bị tính năng 'bóp' như smartphone HTC
Theo Digital Trends, Apple vừa nhận được bốn sáng chế mới từ Tổ chức sở hữu trí tuệ Mỹ (USPTO) liên quan đến các tính năng trên điện thoại. Trong đó, bằng số 20180164166 gọi là "Mobile Electronic Device with Squeeze Detection" (tạm dịch: Thiết bị điện tử di động với khả năng phát hiện bóp cạnh viền) có thể kích hoạt nhanh máy ảnh hoặc Siri. Nó sẽ dựa trên lực nhấn của người dùng để mở các ứng dụng khác nhau.
Hình ảnh từ bằng sáng chế cho thấy Apple có thể đang hướng tính năng này đến một smartphone có màn hình tràn cạnh, một smartphone không có phím vật lý ở cạnh viền hoặc cả hai. Thậm chí, nó còn được dự đoán sẽ áp dụng cho một mẫu iPhone có thể gập lại.
Trước đó, HTC với Edge Sense trên U11 và Google với Active Edge trên Pixel 2 là các sản phẩm được tích hợp khả năng "bóp" để kích hoạt ứng dụng nhất định. Tuy nhiên, sáng chế Apple được nộp bổ sung vào 2016 (nộp ban đầu vào 2013), do đó khả năng cao công ty đã nghĩ đến tính năng này trước HTC và Google.
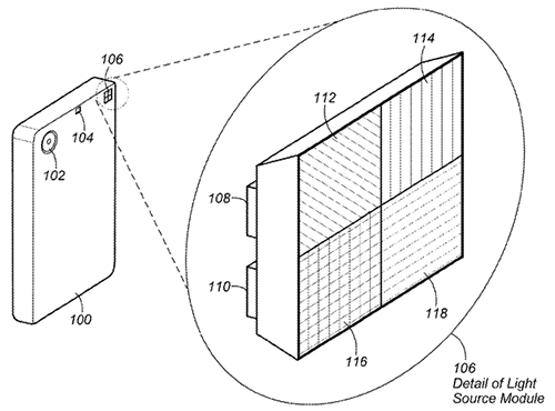
Apple còn nhận được sáng chế đèn flash mới cho máy ảnh. iPhone 7 trở về sau dùng đèn flash với 4 đèn LED cho ánh sáng cân bằng hơn khi chụp đêm. Tuy nhiên, đèn mới sẽ được đưa vào chất liệu mới có khả năng khuếch tán ánh sáng, kết hợp với phần mềm để điều chỉnh ánh sáng phù hợp với bức ảnh. Bên cạnh đó, người dùng cũng có thể chỉnh độ sáng đèn flash bằng tay - điều chưa có smartphone nào làm được.
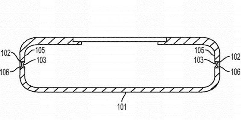
Bằng sáng chế tiếp theo giúp tăng độ bền smartphone. Gọi là "Drop Countermeasures for Electronic Device" (tạm dịch: Ứng phó với việc thả rơi các thiết bị điện tử", sáng chế mới mô tả việc Apple đưa vào bên trong iPhone các cảm biến nhận dạng lực, cảm biến chuyển động và vi xử lý đi kèm nhằm giảm tác động lực từ bên ngoài. Khi lực tác động vào một bộ phận nào đó do thả rơi hoặc va đập, hệ thống sẽ điều chỉnh để lực lan tỏa ra toàn máy, từ đó xác suất hư hại sẽ thấp hơn. Tuy nhiên, một số chuyên gia cho rằng Apple khó áp dụng công nghệ này vào iPhone và nếu có sẽ làm máy dày lên đáng kể.
Cuối cùng là sáng chế về xác định khoảng cách trong một tòa nhà. Gọi là "Range-Free Proximity Determination" (tạm dịch: Xác định khoảng cách gần), nó sẽ giúp chủ nhân iPhone xác định vị trí chính xác hơn GPS trong một tòa nhà bằng một công cụ làm mốc. Ví dụ: một cửa hàng sẽ đặt công cụ này ở cửa ra vào vào người dùng iPhone có thể xác định địa điểm này, được vẽ bản đồ đi ra, hạn chế khả năng bị lạc.
Theo Lâm Anh (VnExpress.net)
- Triển khai chương trình khám sức khỏe định kỳ miễn phí toàn quốc cho người dân, khoảng 350.000 đồng/lượt (19:02)
- Chấn động showbiz Thái: Cuộc đối đầu nảy lửa và bằng chứng mới trong vụ tố xâm hại tại gia tộc tỷ đô (52 phút trước)
- Petrolimex chính thức niêm yết giá xăng sinh học E10: Ưu đãi hơn so với xăng khoáng RON 95 (1 giờ trước)
- WHO nhận định về Hantavirus: Khó bùng phát thành đại dịch như Covid-19 (2 giờ trước)
- Hàng xóm tiết lộ tình tiết nóng vụ sát hại bạn gái đang mang thai rồi thản nhiên nằm ngủ bên thi thể nhiều lần (2 giờ trước)
- Thông tin chính thức ngày xét xử hai tên cướp ngân hàng 1,9 tỷ: Cả hai đều bị xét xử 3 tội danh? (2 giờ trước)
- Danh tính người phụ nữ phơi lúa lấn chiếm lòng đường rồi dùng cào tấn công tài xế, bị xử lý ra sao? (2 giờ trước)
- Đạo diễn Nguyễn Quang Dũng và NSƯT Tân Nhàn đồng loạt "kêu cứu" (3 giờ trước)
- Tự bỏ thuốc để uống thuốc nam, người phụ nữ từ suy thận giai đoạn 4 phải chạy thận suốt đời (3 giờ trước)
- Toàn bộ lời khai của Bùi Đình Khánh: Hé lộ lý do nổ súng gây bất ngờ? Quá trình tẩu thoát đầy kịch tích (3 giờ trước)