-
Tổng thống Hàn Quốc Lee Jae-myung sắp thăm cấp nhà nước tới Việt Nam -
Nam diễn viên "Đấu trường sinh tử" Ethan Jamieson bị bắt giữ vì nổ súng tấn công người -
"Vua xe ga" 188cc mới chính thức ra mắt giá 56 triệu đồng: Thiết kế nét hơn Honda Air Blade và Vario -
Chuyên gia Hiếu PC cảnh báo chiêu trò "mặt nạ" số điện thoại: Đừng tin vào những gì hiển thị trên màn hình -
"Cơn bão" phẫn nộ bủa vây Hương Tràm sau chiến thắng gây tranh cãi tại giải Cống hiến 2026 -
Hoa hậu Dương Thuỳ Linh lên tiếng giữa ồn ào "trợ lý bị sai dắt chó": Phát ngôn gây tranh cãi trên mạng xã hội -
Giải mã bức tranh xăng dầu kỳ điều hành 16/4: Dầu giảm sâu ngoạn mục, thuế phí "về 0" và vị thế bất ngờ của Việt Nam -
Đây là chiếc iPhone fullbox rẻ nhất Việt Nam hiện nay, chưa đến 12 triệu dùng cơ bản ngon chẳng kém iPhone 17e -
NSND Tự Long gây sốt khi "đánh úp" Trang Pháp, hé lộ tình trạng thực sự của nữ ca sĩ sau khi từ Trung Quốc trở về -
Cơn thịnh nộ của "quái vật" Sinlaku: Saipan và Tinian tan hoang sau đêm kinh hoàng cùng siêu bão mạnh nhất hành tinh
Công nghệ
18/01/2019 18:09Apple có sáng chế smartphone gập màn hình giống Samsung

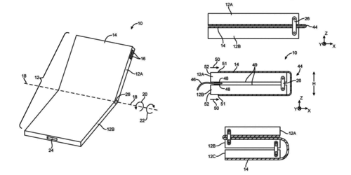
Trong sáng chế được Apple nộp lên cơ quan cấp phép tháng 10 năm ngoái và vừa bị lộ ra, thiết bị được mô tả có màn hình gập lại được làm đôi theo chiều ngang. Nó sử dụng một bản lề đặc biệt và màn hình có khả năng uốn dẻo. Cộng với bằng sáng chế khác từng bị lộ ra đầu năm ngoái, hãng công nghệ Mỹ cho thấy đang phát triển thiết bị di động có màn hình gập lại được, tương tự như đối thủ lớn nhất của hãng, Samsung.
Nếu xét về cơ chế hoạt động, thiết bị màn hình gập trong sáng chế của Apple khá giống với smartphone mà Samsung từng hé lộ cuối năm ngoái. Cả hai đều có khả năng gập màn hình làm đôi để thu gọn kích thước hoặc mở rộng ra khi cần. Khác biệt là bản lề được Apple đặt nằm ngang còn Samsung sử dụng bản lề gập mở theo chiều dọc.
Sau camera kép, màn hình tràn viền... màn hình gập được dự đoán là xu hướng mà các nhà sản xuất smartphone theo đuổi. Thiết kế mới tăng khả năng hiển thị trong kiểu dáng nhỏ gọn hơn, mang lại trải nghiệm mới mẻ cho người dùng. Cuối năm ngoái, Samsung đã đưa ra bản thử nghiệm smartphone có màn hình gập dạng dọc và hứa hẹn trình làng ngay đầu 2019 dưới dạng phiên bản siêu cao cấp của Galaxy S10 hoặc mang tên riêng Galaxy F.
Theo Mỹ Anh (VnExpress.net)
- Khoan nhầm đường ống chính khiến hơn 20.000 hộ dân đột ngột mất nước (16/04/26 22:51)
- TP.HCM: Chồng mất, vợ phải chi 6 tỷ đồng anh em nhà chồng mới đồng ý ký từ chối tài sản (16/04/26 21:50)
- "Ông trùm" đang kiện tụng với Cúc Tịnh Y đột ngột qua đời tại phòng họp (16/04/26 21:46)
- Đồng Nai chính thức đạt tiêu chuẩn đô thị loại I, sẵn sàng trở thành thành phố trực thuộc Trung ương (16/04/26 21:12)
- Xúc động hình ảnh Đại úy Công an cởi áo, bảo vệ bé trai 18 tháng tuổi thoát khỏi biển lửa (16/04/26 20:58)
- TP.HCM: Công an xác minh vụ người đàn ông xông vào nhà hành hung cụ bà vì mâu thuẫn thú cưng (16/04/26 20:47)
- Chính thức giải thể Ủy ban An toàn giao thông Quốc gia từ ngày 1/6/2026 (16/04/26 20:39)
- Tình trạng nguy kịch nam thanh niên sát hại bạn gái tại phòng trọ Nghệ An, gia đình có động thái mới (16/04/26 20:03)
- Bi kịch gia đình cùng đi buôn ma túy, con trai kéo cả mẹ và vợ vào vòng lao lý (16/04/26 19:43)
- Mùa hè bật điều hòa tốn hơn bật quạt bao nhiêu tiền? Đáp án từ EVN khiến nhiều người bất ngờ (16/04/26 19:02)