-
Người giàu không quét nhà kiểu như bạn: Bí mật phong thuỷ giữ tài khí qua cây chổi
-
Khoảnh khắc cây cầu biến dạng khi dòng lũ đục ngầu cuồn cuộn đổ về ở Cao Bằng
-
Khớp gối biến dạng, tuyến thượng thận bị suy do uống thảo dược mua từ nước ngoài
-
Hà Nội tiếp tục mưa lớn, lũ sông lên nhanh
-
Thu hồi ngay 3 loại dầu gội đầu, dung dịch vệ sinh là hàng giả
-
Cục CSGT nêu khó khăn trong việc xử phạt qua camera AI
-
Hiệu trưởng xin lỗi vì suất ăn 25.000 đồng như 10.000 đồng
-
Hình ảnh mây đen "như muốn sập xuống" ở Hà Nội
-
Vỡ đập thủy điện Bắc Khê 1 ở Lạng Sơn
-
Thầy giáo bị đồng nghiệp bóp cổ giữa sân trường vì nhắc đỗ xe sai quy định
Công nghệ
05/02/2021 23:26Apple có thể chuẩn bị đưa ra giải pháp giúp cáp sạc cáp cứng hơn, chắc chắn hơn
Nếu đã từng sở hữu cáp Lightning cho iPhone hay iPad, bạn biết chúng mỏng manh như thế nào. Tuy nhiên, Apple hiện có thể có một giải pháp có thể bảo vệ bất kỳ loại cáp sạc nào.
Theo bằng sáng chế được AppleInsider phát hiện gần đây, nhà sản xuất iPhone và Mac đã thoải mái thừa nhận rằng họ "biết rõ rằng việc uốn cong cáp gần điểm kết thúc có thể gây ra căng thẳng không mong muốn trên các kết nối dây, có thể dẫn đến hỏng cáp".
Và công ty sau đó liệt kê một số giải pháp khả thi, với hầu hết các tùy chọn dẫn đến việc "cáp có độ cứng thay đổi".
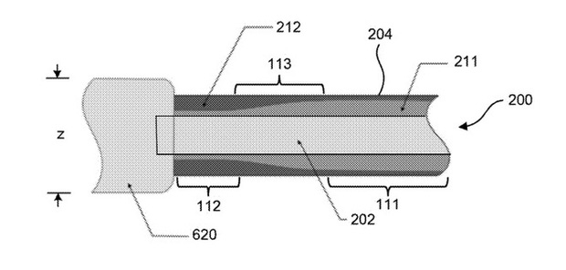
Cụ thể hơn, loại cáp được đề xuất sẽ có một lõi với các phần có độ dày khác nhau, sẽ được "bao quanh bởi một ống bọc bên ngoài có độ dày đồng nhất", như được trình bày chi tiết trong sơ đồ dưới đây.

Điều đáng chú ý là bằng sáng chế không chỉ ra tên của cáp Lightning, có nghĩa là việc đệ trình có thể liên quan đến việc đại tu hoàn toàn cáp iPhone, iPad và Mac của công ty. Điều đó cũng có nghĩa là chúng ta có thể thấy cáp sạc Thunderbolt 3, USB-C và MagSafe được cập nhật trong tương lai gần.
Tất nhiên, việc nộp bằng sáng chế không có nghĩa là xác nhận rằng Apple thực sự sẽ bắt đầu sản xuất các loại cáp bền cứng hơn. Dù vậy, nó cũng cho thấy rằng công ty đang nghiêm túc xem xét vấn đề này.
Theo Bảo Nam (Pháp Luật & Bạn Đọc)








- Vì sao 7 cầu thủ ngoại mạo hiểm nhập tịch Malaysia? (07/10/25 23:15)
- Vì phong bì phúng viếng, chàng trai bị bạn gái dọa chia tay sau đám tang bà nội (07/10/25 22:56)
- Bayern Munich "cướp" tuyển thủ Anh trước mũi Liverpool (07/10/25 22:31)
- Lũ đặc biệt lớn, Thái Nguyên đối mặt đỉnh lũ vượt kỷ lục 2024 (07/10/25 22:28)
- Kẻ đứng sau hàng loạt buổi livestream xuyên tạc, gây rối ở Gia Lai (07/10/25 22:10)
- Vén màn cơ cấu quyền lực của gia tộc họ Minh và "nữ ma đầu" Minh Trân Trân (07/10/25 22:00)
- Phim Việt giờ vàng thay toàn bộ diễn viên (07/10/25 21:50)
- Hiệu trưởng lên tiếng về những tin nhắn giáo viên của trường vận động phụ huynh đóng góp (07/10/25 21:42)
- 7 người chết và mất tích do bão Matmo, lũ kỷ lục trên sông Cầu (07/10/25 21:34)
- Ngôi nhà 2 tầng ở Hà Nội bốc cháy giữa cơn mưa lớn (07/10/25 21:26)




