-
Ngập lụt ở Cao Bằng, Thái Nguyên, Lạng Sơn, Bắc Ninh kéo dài đến khi nào?
-
Tử vi hàng ngày 9/10/2025 của 12 con giáp: Thứ 5 Mão may mắn
-
Vụ án Mr Pips: Thu giữ 2,3 triệu USD, 890 miếng vàng SJC, 246 kg vàng
-
Trước khi vướng lùm xùm tiền ảo AntEx, Nexttech Group của Shark Bình đã đột ngột giảm vốn từ 500 xuống còn 4 tỷ đồng; Ngân Lượng cũng giảm 85% vốn
-
Công an xác minh clip tàu hỏa húc văng bàn ghế ở phố cà phê đường tàu Hà Nội
-
Cháy nhà ở Lâm Đồng khiến 2 vợ chồng thiệt mạng: Thông tin mới nhất
-
Khoảnh khắc thót tim cứu hai ông cháu 18 tiếng cầm cự trên mái nhà giữa lũ dữ
-
Thái Nguyên và những giọt nước mắt trong lũ dữ: "Con cháu tôi 3 ngày nay không có cơm"
-
Cả nước bật “chế độ cứu trợ khẩn cấp” hướng về Thái Nguyên
-
Chỉ cần giải quyết vấn đề này, người Hà Nội không còn phải bì bõm lội nước
Công nghệ
30/05/2023 16:00iPhone màn hình cuộn trong tương lai sẽ có thiết kế ra sao?
Theo báo cáo mới nhất, Apple có thể đang tiếp tục sản xuất màn hình cuộn cho iPhone và iPad. Thiết kế này giúp người dùng có thể kéo màn hình ở hai đầu khi cần. Nói cách khác, Apple có thể giới thiệu một chiếc iPhone màn hình cuộn trong tương lai giống như một chiếc chiếu thư.
Tất nhiên, sản phẩm đó khó có thể xuất hiện trong sự kiện ra mắt dòng iPhone 15 năm nay và thậm chí có thể không bao giờ xảy ra. Ý tưởng màn hình cuộn mới chỉ xuất hiện trong một ứng dụng bằng sáng chế, lọt thỏm trong hàng nghìn bằng sáng chế mỗi năm của “Nhà Táo”.

Trước đó, vào năm 2015, một ý tưởng tương tự cũng đã xuất hiện, có tên là "màn hình bảo vệ chủ động cho thiết bị điện tử". Sau đó, vào năm 2017, dấu hiệu đầu tiên về màn hình cuộn cho iPhone đã xuất hiện và năm 2020 đã chứng kiến một bước ngoặt khác về ý tưởng này.
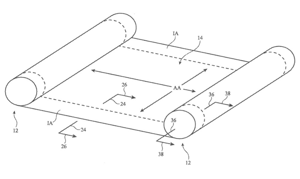
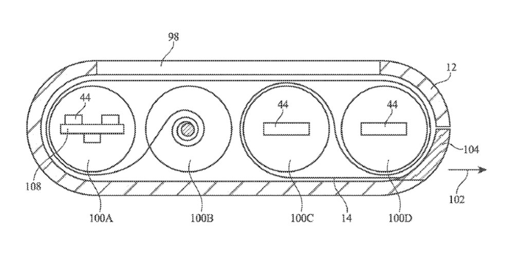
Giờ đây, bằng sáng chế về một "Thiết bị điện tử có cấu trúc màn hình linh hoạt" cho biết: "Màn hình được hình thành từ các cấu trúc cứng như thủy tinh... Việc này có thể gây khó khăn cho việc tạo ra các thiết bị điện tử nhỏ gọn với các tính năng mong muốn. Nhưng màn hình linh hoạt có thể được quấn quanh một hoặc nhiều con lăn. Các con lăn có thể mở rộng màn hình."

Màn hình này có thể được sử dụng cho "điện thoại di động, máy tính bảng, đồng hồ đeo tay, v.v."
Apple cho biết: “Màn hình linh hoạt có thể được uốn cong quanh một trục. Việc này cho phép màn hình linh hoạt được bảo quản trong vỏ khi cuộn gọn và được kéo ra khi người dùng muốn mở rộng khu vực hiển thị. Thiết bị điện tử có thể kết hợp cả màn hình gập và màn hình cuộn.”
Một số hình minh họa trong đơn xin cấp bằng sáng chế cho thấy phần lớn màn hình có thể được cuộn bên trong thiết bị cho đến khi cần mở ra.
Khác với nhiều bằng sáng chế về màn hình linh hoạt khác của Apple, ứng dụng bằng sáng chế này chủ yếu tập trung vào độ bền. Vì vậy, “siêu phẩm” màn hình có thể sử dụng linh hoạt các chất liệu: "kim loại, nhựa hoặc các vật liệu phù hợp khác".

“Chìa khóa” để giúp màn hình trở nên bền bỉ hơn là nhờ "cấu trúc có độ bền cao". Đơn xin cấp bằng sáng chế cho hay: "Các cấu trúc màn hình vẫn đủ cứng và đủ linh hoạt khi lăn trên một con lăn."
Rõ ràng, khoảng cách từ các bản vẽ của ứng dụng bằng sáng chế tới không gian chật hẹp của iPhone hoặc iPad còn quá xa. Tuy nhiên, iFan vẫn có thể hy vọng “Táo Khuyết” tung iPhone màn hình cuộn trong tương lai. Mới đây, Samsung đã tung màn hình cuộn của mình - Rollable Flex với kích cỡ 12,4 inch. màn hình của hãng vẫn chưa được tích hợp trên sản phẩm cụ thể nhưng đã khiến các fan hâm mộ vô cùng hào hứng.
Theo Như Khánh (Saostar.vn)








- Nữ MC VTV nổi tiếng từ 20 tuổi từng không dám xem mình lên sóng vì xấu hổ, giờ là thần tượng của Khánh Vy (06:30)
- Triệt phá, khởi tố nhóm dự án tiền ảo lừa 3.000 nhà đầu tư chiếm đoạt 7,86 triệu USD (06:21)
- Indonesia nhận trái đắng ở vòng loại 4 World Cup (06:17)
- Người phụ nữ nhổ nước bọt, đánh bé gái 10 tuổi gây bức xúc ở TP.HCM (06:11)
- Công trình trăm tỷ bị sóng biển đánh tan hoang ở Ninh Bình (06:07)
- Tử vi hàng ngày 9/10/2025 của 12 con giáp: Thứ 5 Mão may mắn (06:00)
- Ngập lụt ở Cao Bằng, Thái Nguyên, Lạng Sơn, Bắc Ninh kéo dài đến khi nào? (08/10/25 23:20)
- Vụ án Mr Pips: Thu giữ 2,3 triệu USD, 890 miếng vàng SJC, 246 kg vàng (08/10/25 23:04)
- Chị dâu ly hôn, đến ngày chị ấy dọn ra khỏi nhà tôi mới biết chồng mình không hề đơn giản (08/10/25 22:57)
- Xử lý người đưa tin trên Tiktok xuyên tạc vụ thảm án Đồng Nai (08/10/25 22:45)




