-
Lũ rút, Thái Nguyên hiện lên với một khung cảnh tan hoang đến xót xa
-
Cửa hàng điện tử ở Hà Nội cháy dữ dội
-
Toàn cảnh lễ đón Tổng Bí thư Tô Lâm thăm cấp Nhà nước CHDCND Triều Tiên
-
Bộ GD-ĐT yêu cầu xử lý vụ thầy giáo bóp cổ đồng nghiệp ngay trong trường
-
Từ Lee Min Ho đến Song Joong Ki, thời câu view kiếm tiền từ sao hạng A đã qua rồi
-
Bọc bạt kín như bưng, hai ô tô ở Thái Nguyên vẫn "mất tích" trong mưa ngập
-
Đêm trắng giữ đê ở Bắc Ninh, hàng nghìn người căng mình gia cố chống lũ
-
Cảnh sát, quân đội vào vùng ngập lụt lịch sử: "Không sao, có chú đây rồi"
-
Cảnh báo: Ngày càng nhiều nhân viên văn phòng trốn làm đi chơi pickleball!
-
Taylor Swift bị ruồng bỏ vẫn làm nên lịch sử, cả loạt siêu sao "ra chuồng gà"
Công nghệ
07/02/2019 16:09Samsung có thể bỏ hẳn camera selfie trên Galaxy Note 10
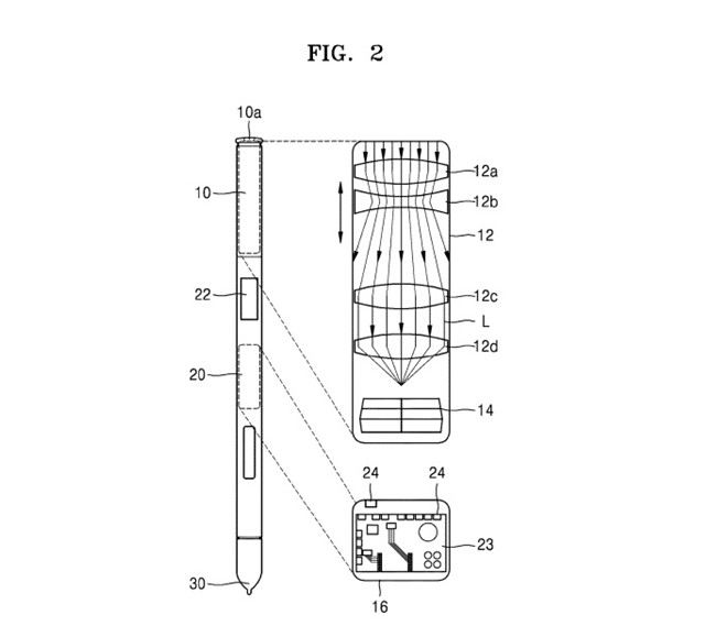
Theo bằng sáng chế vừa được Samsung nộp lên Văn phòng nhãn hiệu và bằng sáng chế Mỹ (USPTO), thay đổi lớn nhất trên phiên bản Galaxy Note có thể nằm ở chiếc bút S-Pen đi kèm.

Dường như Samsung sẽ có cách giải quyết vấn đề đặt camera trước rất đặc biệt. Không cần màn hình khuyết, màn hình trượt hay màn hình đục lỗ, camera selfie của Galaxy Note sẽ đặt vào bút S-Pen.
Theo hình vẽ đính kèm, trên thân bút sẽ có nút điều khiển chụp ảnh, một nút khác để zoom. Sơ đồ mô tả để lộ nơi đặt một cảm biến và một ống kính. Mặc dù việc thêm camera vào S-Pen sẽ gia tăng sức mạnh cho phụ kiện này, rất khó tin nếu Samsung loại bỏ hẳn camera trước trên thân máy.
Khả năng cao hơn là S-Pen có thể được sử dụng như một thiết bị chụp ảnh độc lập với Galaxy Note. Nó sẽ có tác dụng trong vài tình huống cụ thể nào đó, hoặc phụcvụ cho tính năng hoàn toàn mới mà Samsung sẽ trang bị cho chiếc Galaxy Note tiếp theo.

Cùng với Galaxy S, Galaxy Note là dòng smartphone cao cấp chủ lực của Samsung. Ra mắt từ năm 2011 với màn hình ngoại cỡ, dòng Galaxy Note đã dần khẳng định vị thế của mình trên thị trường, đồng thời góp phần không nhỏ trong việc xúc đẩy sự phát triển của xu thế smartphone màn hình lớn.
Kích thước lớn cho phép Galaxy Note mang đến trải nghiệm rất tốt khi xem phim, lướt web, chơi game, sử dụng mạng xã hội và phục vụ một số công việc. S-Pen đi kèm cũng là một phụ kiện độc đáo mà những smartphone khác không có được.
Theo Nguyễn Hiếu (Tri Thức Trực Tuyến)








- Camera ghi lại cảnh 1 điều dưỡng ở TP HCM bị hành hung khi đang cấp cứu bệnh nhân (14:02)
- Lội nước bẩn do mưa bão gây ngập, nhiều người bị nấm da, viêm loét sâu tay chân (8 phút trước)
- Sự thật gây sốc: Chỉ một giọt rượu cũng có thể hủy hoại não và đẩy bạn đến bờ vực mất trí nhớ (11 phút trước)
- Ăn cỗ cưới, hàng chục người ở Quảng Ninh phải nhập viện (13 phút trước)
- Công an vào cuộc vụ nữ sinh bị 2 bạn nam đánh dã man ở An Giang (16 phút trước)
- Lũ rút, Thái Nguyên hiện lên với một khung cảnh tan hoang đến xót xa (17 phút trước)
- Thủ tướng yêu cầu thanh tra, xử lý nghiêm nạn thổi giá cổ phiếu (20 phút trước)
- Không có tiền "chứng minh vô tội", 2 nữ sinh bị lừa sang Campuchia làm việc (21 phút trước)
- Xe "ăn xăng như ngửi" ồ ạt đổ bộ Việt Nam: Có mẫu to hơn Vios ăn 3,8L/100km, cắm sạc đi 120km như xe điện (23 phút trước)
- Hạn chót Malaysia kháng cáo FIFA: Đừng nói "chúng tôi không biết" (23 phút trước)




