-
Hà Nội: Lũ tràn trong đêm không kịp trở tay, gõ cửa từng nhà tiếp tế lương thực
-
Các "bé lợn" ở Thái Nguyên "vụt sáng" thành ngôi sao vì... mặc kệ lũ, mình ngủ!
-
Lũ rút, Thái Nguyên hiện lên với một khung cảnh tan hoang đến xót xa
-
Cửa hàng điện tử ở Hà Nội cháy dữ dội
-
Toàn cảnh lễ đón Tổng Bí thư Tô Lâm thăm cấp Nhà nước CHDCND Triều Tiên
-
Bộ GD-ĐT yêu cầu xử lý vụ thầy giáo bóp cổ đồng nghiệp ngay trong trường
-
Từ Lee Min Ho đến Song Joong Ki, thời câu view kiếm tiền từ sao hạng A đã qua rồi
-
Bọc bạt kín như bưng, hai ô tô ở Thái Nguyên vẫn "mất tích" trong mưa ngập
-
Đêm trắng giữ đê ở Bắc Ninh, hàng nghìn người căng mình gia cố chống lũ
-
Cảnh sát, quân đội vào vùng ngập lụt lịch sử: "Không sao, có chú đây rồi"
Công nghệ
11/10/2019 16:34iPhone 12 sẽ được trang bị camera 'siêu khủng'?
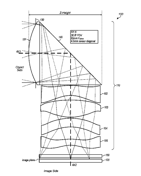
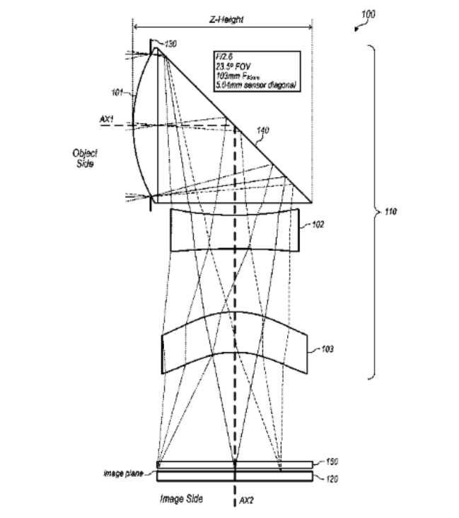
Theo 2 bằng sáng chế được Văn phòng Bằng sáng chế và Thương hiệu Hoa Kỳ đã cấp cho Táo khuyết, Apple có thể sẽ trang bị ống kính tele tiềm vọng cho iPhone trong tương lai.
Điều này nghe có vẻ quen thuộc giống như cách mà Huawei đã trang bị cho P30 Pro ống kính tele 5x, bằng cách xếp các các ống kính theo chiều dọc trong thân smartphone và sử dụng gương để quay góc ngắm ra bên ngoài. Đây là lần đầu tiên chúng ta thấy Apple chạy đua theo Huawei.

Cụ thể, bằng sáng chế thứ nhất mô tả hệ thống gồm 5 thấu kính gấp với 5 thấu kính khúc xạ. Bằng sáng chế thứ hai mô tả ống kính gồm 3 thấu kính khúc xạ.
Với phiên bản 5 thấu kính sẽ tạo ra ống kính 35mm, có độ dài tiêu cự tương đương 50 - 85mm phù hợp với ống kính góc rộng. Còn phiên bản 3 thấu kính sẽ tương đương với ống kính tele 35mm có độ dài tiêu cự từ 80 - 200mm. Nói cách khác, Apple có thể sử dụng thiết lập thấu kính xếp chồng ngang với gương như vậy để tạo ra hệ thống camera 'khủng' trên iPhone mà không làm mô-đun máy ảnh lồi ra thêm.

Đây có thể được xem là một nỗ lực của Apple trong việc cải thiện khả năng chụp ảnh của những chiếc iPhone thế hệ tiếp theo.

Nhưng trên thực tế Apple có làm điều đó với iPhone mới, thậm chí gần nhất là iPhone 12 ra mắt năm sau, hay không thì còn tùy thuộc vào chiến lược phát triển sản phẩm của Táo khuyết.
Theo Hải Phong (VietNamNet)








- "Đếm ngược" siêu động đất rãnh Nankai: Nhật Bản phát hiện sụt lún bất thường, xác suất thảm hoạ ập đến lên tới 90% (16:25)
- Bắt tạm giam nam thanh niên 28 tuổi ở Long Thành, công an khuyến cáo người dân cảnh giác (16:22)
- 6 loại nước uống rẻ tiền giúp thải độc gan, tốt cho người bệnh gan nhiễm mỡ (16:19)
- Sau 10 năm, người vợ xinh đẹp đến mức ai cũng phải ngoái nhìn, giờ lại khiến tôi run sợ (16:17)
- Sàn Nasdaq của Mỹ chúc mừng chứng khoán Việt Nam được nâng hạng (16:15)
- Trịnh Sảng ê chề: Bị xem như con rối mua vui, đến cha mẹ cũng từ mặt sau khi làm "vợ bé" đại gia? (16:14)
- Ô tô sụt hố sâu hơn 1m ở Hà Nội, xe cứu hộ đến hiện trường cũng gặp nạn (16:10)
- Đường phố Thái Nguyên ngập bùn đất sau lũ lịch sử, người dân tất bật dọn dẹp (16:01)
- Bộ trưởng Bộ Nội vụ Malaysia lên tiếng về tranh cãi từ nhóm 7 cầu thủ nhập tịch (41 phút trước)
- Giá xăng dầu đồng loạt giảm (43 phút trước)




