-
Ngập lụt ở Cao Bằng, Thái Nguyên, Lạng Sơn, Bắc Ninh kéo dài đến khi nào?
-
Vụ án Mr Pips: Thu giữ 2,3 triệu USD, 890 miếng vàng SJC, 246 kg vàng
-
Trước khi vướng lùm xùm tiền ảo AntEx, Nexttech Group của Shark Bình đã đột ngột giảm vốn từ 500 xuống còn 4 tỷ đồng; Ngân Lượng cũng giảm 85% vốn
-
Công an xác minh clip tàu hỏa húc văng bàn ghế ở phố cà phê đường tàu Hà Nội
-
Cháy nhà ở Lâm Đồng khiến 2 vợ chồng thiệt mạng: Thông tin mới nhất
-
Khoảnh khắc thót tim cứu hai ông cháu 18 tiếng cầm cự trên mái nhà giữa lũ dữ
-
Thái Nguyên và những giọt nước mắt trong lũ dữ: "Con cháu tôi 3 ngày nay không có cơm"
-
Cả nước bật “chế độ cứu trợ khẩn cấp” hướng về Thái Nguyên
-
Chỉ cần giải quyết vấn đề này, người Hà Nội không còn phải bì bõm lội nước
-
Hỗ trợ khẩn cấp 140 tỷ cho 4 tỉnh khắc phục hậu quả mưa lũ, Thái Nguyên mức cao nhất 50 tỷ
Công nghệ
10/06/2018 16:03Microsoft công bố bằng sáng chế Surface Pen chạy bằng năng lượng ánh sáng

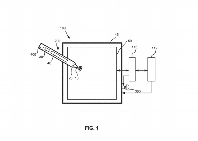
Theo Neowin, phiên bản mới nhất của chiếc Surface Pen đã được Microsoft giới thiệu hơn một năm trước đây và được cho là chiếc bút kỹ thuật số nhanh nhất thế giới. Tuy nhiên sau nhiều lần nâng cấp với những cải tiến mới, chiếc bút này vẫn sử dụng một pin AAAA để cung cấp năng lượng. Tuy nhiên, có vẻ như hãng Microsoft đã có một số ý tưởng thú vị xung quanh quá trình sạc cho bút Surface Pen.
Một bằng sáng chế đã được đệ trình bởi công ty vào năm 2016 và mới được xuất bản gần đây mô tả về chiếc bút stylus được trang bị một bộ thu nhận ánh sáng để tạo ra năng lượng. Nói cách khác, chiếc bút này sẽ được nạp năng lượng bởi ánh sáng phát ra từ một màn hình gần nó.
Năng lượng thu được từ bộ thu nhận ánh sáng có thể được sử dụng để cấp năng lượng cho hoạt động của bút stylus hoặc để sạc lại cho bút. Thiết bị này thu nhận ánh sáng từ màn hình vì cường độ ánh sáng từ màn hình điện tử cao hơn hơn và nhanh hơn đáng kể so với cường độ ánh sáng xung quanh trong phòng hoặc ánh sáng ngoài trời.
Bút Surface xuất hiện khá dày đặc gần đây trong nhiều bằng sáng chế. Microsoft cũng đã thêm một chiếc kẹp hình chữ U có tính năng cảm ứng mô phỏng bánh xe cuộn trên các chuột cảm ứng; cũng như tích hợp một phản hồi rung cho bút. Những điều này càng làm cho người dùng tin rằng Microsoft sẽ có những nâng cấp đáng kể cho Surface Pen trong tương lai.
Theo Hiếu Trung (Thanh Niên Online)








- Ngập lụt ở Cao Bằng, Thái Nguyên, Lạng Sơn, Bắc Ninh kéo dài đến khi nào? (08/10/25 23:20)
- Vụ án Mr Pips: Thu giữ 2,3 triệu USD, 890 miếng vàng SJC, 246 kg vàng (08/10/25 23:04)
- Chị dâu ly hôn, đến ngày chị ấy dọn ra khỏi nhà tôi mới biết chồng mình không hề đơn giản (08/10/25 22:57)
- Xử lý người đưa tin trên Tiktok xuyên tạc vụ thảm án Đồng Nai (08/10/25 22:45)
- Trước khi vướng lùm xùm tiền ảo AntEx, Nexttech Group của Shark Bình đã đột ngột giảm vốn từ 500 xuống còn 4 tỷ đồng; Ngân Lượng cũng giảm 85% vốn (08/10/25 22:21)
- Cảnh tượng "nghẹt thở" sau Tết đoàn viên (08/10/25 22:15)
- HLV Kim Sang-sik nói thẳng về bê bối của ĐT Malaysia, nêu ra điều cực kỳ quan trọng cho ĐT Việt Nam (08/10/25 22:00)
- Công an xác minh clip tàu hỏa húc văng bàn ghế ở phố cà phê đường tàu Hà Nội (08/10/25 21:40)
- Cháy nhà ở Lâm Đồng khiến 2 vợ chồng thiệt mạng: Thông tin mới nhất (08/10/25 21:20)
- Đám cưới Selena Gomez lộ vật thể đáng ngờ phải giấu vội khi bị quay đến (08/10/25 21:12)




