-
Lùm xùm chiếm đoạt tài sản xoay quanh hiện tượng mạng "Thích Nhuận Đạt": Cơ quan công an chính thức vào cuộc -
Trước khi bị bắt, Ngọc Tiền từng vướng tin đồn chiếm tài sản của chồng, có quan hệ bất chính với cháu rể -
Từ "Nữ tướng" bất động sản Phú Quốc đến vòng lao lý: Đời tư và sự nghiệp thăng trầm của bà Nguyễn Ngọc Tiền -
Người đàn ông tử vong bất thường trên đường đi mời giỗ vợ, cơ quan chức năng vào cuộc điều tra -
Doanh nhân Nguyễn Ngọc Tiền – vợ cố diễn viên Quý Bình bị bắt -
"Không có nghĩa vụ lo cho nhà ngoại": Câu nói của chồng khiến người vợ sững sờ khi mẹ ruột nhập viện cấp cứu -
Văn phòng Chủ tịch nước thay đổi trụ sở làm việc -
Người đàn ông rơi từ tầng 17 chung cư tử vong, camera ghi lại diễn biến trước thời điểm xảy ra vụ việc -
Giá gas "leo thang thần tốc" trong nửa tháng, áp sát 550.000 đồng/ bình: Chuyện gì đang xảy ra? -
Thủ tướng đồng ý ứng ngân sách hỗ trợ Quỹ bình ổn giá xăng dầu
Công nghệ
07/01/2021 22:30Apple đăng ký bằng sáng chế cho phép sử dụng MacBook để sạc không dây cho iPhone và Apple Watch
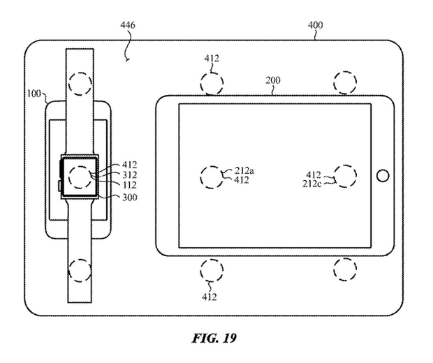
Theo The Verge, Apple đã được cấp 2 bằng sáng chế liên quan đến tính năng sạc không dây tương thích ngược. Các bằng sáng chế này có hình vẽ mô tả cho thấy MacBook đang sạc không dây cho iPhone và Apple Watch. Một hình vẽ mô tả khác cho thấy iPhone và iPad cũng có thể sử dụng để sạc không dây cho Apple Watch.
Sạc không dây tương thích ngược không phải là một tính năng hoàn toàn mới, chúng ta đã thấy nhiều nhà sản xuất smartphone Android áp dụng tính năng này trên smartphone của mình. Mặc dù cách làm của Apple có một chút khác biệt, khi có thể sử dụng chỗ để tay và trackpad để làm đế sạc.
Các bằng sáng chế này có thể giúp giải quyết vấn đề thiếu cổng kết nối trên MacBook, hay việc người dùng thường xuyên phải mang theo quá nhiều bộ sạc khác nhau cho từng thiết bị. Mọi thứ sẽ trở nên đơn giản hơn rất nhiều, nếu có một chiếc MacBook làm đế sạc không dây cho cả iPhone và Apple Watch.
Trong một số trường hợp khi đi ra ngoài, Apple Watch hoặc AirPods của bạn bị hết pin mà không có chỗ cắm sạc, bạn cũng có thể sử dụng iPhone hoặc iPad để sạc pin cho những phụ kiện này.

Tuy nhiên hiện tại MacBook và iPad có vỏ làm bằng nhôm, không tương thích với tính năng sạc không dây. Nếu Apple muốn đưa tính năng sạc không dây tương thích ngược lên những thiết bị này, có thể Apple sẽ phải thay đổi thiết kế.
Nhưng nếu nhìn lại chiếc đế sạc AirPower xấu số, có thể thấy rằng giải pháp sạc không dây cho nhiều thiết bị cùng lúc vẫn còn khá phức tạp đối với Apple. Liệu rằng đối với một chiếc đế sạc không dây độc lập Apple còn không thể ra mắt, thì Apple có thể tích hợp nó vào bên trong một chiếc MacBook hay không?

Dẫu sao đây cũng chỉ mới là bằng sáng chế, việc biến ý tưởng trên giấy này trở thành hiện thực vẫn còn rất xa vời. Nhưng nếu sạc không dây tương thích ngược trên MacBook sẽ rất phức tạp, thì Apple vẫn hoàn toàn có thể tích hợp công nghệ này vào iPhone hay iPad, giống như các hãng smartphone Android đã từng làm.
Theo TVD (Pháp Luật & Bạn Đọc)
- Bí ẩn đằng sau đoạn video đầu tiên của tân Lãnh tụ Tối cao Iran Mojtaba Khamenei (18:01)
- Netizen "đào lại" kết quả xét nghiệm ADN con Quý Bình, thái độ khó tin của nhà chồng khi Ngọc Tiền bị chỉ trích? (19 phút trước)
- Lùm xùm chiếm đoạt tài sản xoay quanh hiện tượng mạng "Thích Nhuận Đạt": Cơ quan công an chính thức vào cuộc (41 phút trước)
- Trước khi bị bắt, Ngọc Tiền từng vướng tin đồn chiếm tài sản của chồng, có quan hệ bất chính với cháu rể (50 phút trước)
- Từ "Nữ tướng" bất động sản Phú Quốc đến vòng lao lý: Đời tư và sự nghiệp thăng trầm của bà Nguyễn Ngọc Tiền (58 phút trước)
- Người đàn ông tử vong bất thường trên đường đi mời giỗ vợ, cơ quan chức năng vào cuộc điều tra (1 giờ trước)
- Lý do bà Ngọc Tiền – vợ cố diễn viên Quý Bình bị bắt, vén màn bộ mặt thật đằng sau mác doanh nhân (1 giờ trước)
- Doanh nhân Nguyễn Ngọc Tiền – vợ cố diễn viên Quý Bình bị bắt (1 giờ trước)
- Justin Bieber và Usher vướng tin đồn xô xát tại tiệc hậu Oscar (1 giờ trước)
- Tiền đạo Sardar Azmoun bị gạch tên khỏi tuyển Iran sau ồn ào hình ảnh nhạy cảm (1 giờ trước)