- 
                                
                                
		 Miền Trung đối mặt đợt mưa lớn phức tạp, cục bộ lên tới 700 mm – Thủ tướng ra Công điện khẩn Miền Trung đối mặt đợt mưa lớn phức tạp, cục bộ lên tới 700 mm – Thủ tướng ra Công điện khẩn
- 
                                
                                
		 Diễn viên Phi Ngọc Ánh livestream cầu cứu với gương mặt đầy máu Diễn viên Phi Ngọc Ánh livestream cầu cứu với gương mặt đầy máu
- 
                                
                                
		 Phó Tổng giám đốc dầu khí Nam Sông Hậu bị bắt, hé lộ số tiền sai phạm khủng Phó Tổng giám đốc dầu khí Nam Sông Hậu bị bắt, hé lộ số tiền sai phạm khủng
- 
                                
                                
		 Chân dung "Người phụ nữ thép" của Đường lên đỉnh Olympia, biểu tượng lâu năm nhất và là đạo diễn quyền lực của chương trình Chân dung "Người phụ nữ thép" của Đường lên đỉnh Olympia, biểu tượng lâu năm nhất và là đạo diễn quyền lực của chương trình
- 
                                
                                
		 Vụ đánh bạc tại khách sạn Pullman Hà Nội: Ca sĩ Vũ Hà kể lần chơi duy nhất, hé lộ số tiền thua lỗ Vụ đánh bạc tại khách sạn Pullman Hà Nội: Ca sĩ Vũ Hà kể lần chơi duy nhất, hé lộ số tiền thua lỗ
- 
                                
                                
		 Phố cổ Hội An tan hoang sau trận lũ lịch sử: Nước mắt giữa bùn non và đổ nát Phố cổ Hội An tan hoang sau trận lũ lịch sử: Nước mắt giữa bùn non và đổ nát
- 
                                
                                
		 Gần 2.000 container sầu riêng ùn ứ: Phó Thủ tướng chỉ đạo làm rõ trách nhiệm, không để gián đoạn xuất khẩu Gần 2.000 container sầu riêng ùn ứ: Phó Thủ tướng chỉ đạo làm rõ trách nhiệm, không để gián đoạn xuất khẩu
- 
                                
                                
		 Đề xuất bỏ quy định "lái xe không quá 10 giờ một ngày, 48 giờ một tuần" Đề xuất bỏ quy định "lái xe không quá 10 giờ một ngày, 48 giờ một tuần"
- 
                                
                                
		 Vietjet và Rolls-Royce ký kết hợp đồng động cơ Trent 7000 trị giá 3,8 tỷ Đô la Mỹ Vietjet và Rolls-Royce ký kết hợp đồng động cơ Trent 7000 trị giá 3,8 tỷ Đô la Mỹ
- 
                                
                                
		 Tự ý đặt tên con, tôi bị chồng dí mặt vào tường: "Giống nòi nhà tôi, cô không có quyền" Tự ý đặt tên con, tôi bị chồng dí mặt vào tường: "Giống nòi nhà tôi, cô không có quyền"
															
		Kẻ đánh thai phụ ở Đắk Lắk tiếp tục tham...
															
		‘Choáng’ với loạt ‘siêu xe’ đình đám qua tay Trương...
															
		Hà Nội xóa bỏ cơ chế “xin - cho”, siết...
															
		Trương Ngọc Ánh lao đao, từng phải bán tài sản...
															
		Thái độ của bạn trai kém 14 tuổi khi Trương...
															
		Chia sẻ cuối cùng của Trương Ngọc Ánh trước khi...
															
		Cựu Phó Chủ nhiệm Văn phòng Quốc hội Phạm Thái...
															
		Tình trạng Ngân 98 ra sao sau khi bị bắt?
															
		Kinh tế Mỹ lao đao vì chính phủ đóng cửa,...
															
		Tổng thống Donald Trump đồng ý giảm thuế với Trung...
																						
		Kẻ đánh thai phụ ở Đắk Lắk tiếp tục tham...
															
		‘Choáng’ với loạt ‘siêu xe’ đình đám qua tay Trương...
															
		Hà Nội xóa bỏ cơ chế “xin - cho”, siết...
															
		Trương Ngọc Ánh lao đao, từng phải bán tài sản...
															
		Thái độ của bạn trai kém 14 tuổi khi Trương...
															
		Chia sẻ cuối cùng của Trương Ngọc Ánh trước khi...
															
		Cựu Phó Chủ nhiệm Văn phòng Quốc hội Phạm Thái...
															
		Tình trạng Ngân 98 ra sao sau khi bị bắt?
															
		Kinh tế Mỹ lao đao vì chính phủ đóng cửa,...
															
		Tổng thống Donald Trump đồng ý giảm thuế với Trung...
													
					Tin mới
				Công nghệ
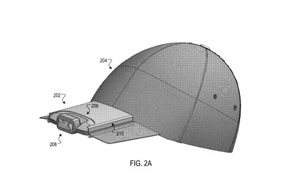
02/03/2017 18:52Google khoe ý tưởng nón thông minh tích hợp camera
Ý tưởng mẫu nón Google Hat cơ bản cũng có những tính năng như mẫu kính thông minh Google Glass.
                        
            Ý tưởng mẫu nón Google Hat cơ bản cũng có những tính năng như mẫu kính thông minh Google Glass.
 
Google vừa đệ đơn xin cấp bằng sáng chế cho ý tưởng sản phẩm mới mà hãng đang tập trung phát triển. Dựa vào những thông tin mà cụ thể là hình ảnh từ bằng sáng chế mới, có thể nhận thấy sản phẩm mà Google đang phát triển mang tên Google Hat và có thiết kế như một chiếc nón được tích hợp camera ngay trên lưỡi trai.
    Google vừa đệ đơn xin cấp bằng sáng chế cho ý tưởng sản phẩm mới mà hãng đang tập trung phát triển. Dựa vào những thông tin mà cụ thể là hình ảnh từ bằng sáng chế mới, có thể nhận thấy sản phẩm mà Google đang phát triển mang tên Google Hat và có thiết kế như một chiếc nón được tích hợp camera ngay trên lưỡi trai.
|  | 
| Google Hat. | 
Theo giới quan sát, xét trên giấy tờ, Google Hat có khá nhiều điểm thú vị nhất là khi hỗ trợ nhiều tính năng hot như có thể điều khiển thông qua smartphone. Google Hat có thể sẽ là một sản phẩm thu hút được sự quan tâm của giới vlog, người dùng yêu thích chụp ảnh và thậm chí là cả nhóm khách hàng chuyên làm nội dung đa phương tiện.
Được biết, đây không phải là lần đầu Google tham gia phát triển những thiết bị đeo tích hợp camera dùng trong đời sống thường ngày. Google Glass là một trường hợp điển hình và hiện cũng là một sản phẩm thất bại. Tuy vậy, có vẻ như Google vẫn chưa từ bỏ dự án này khi khoe ý tưởng sản phẩm nón thông minh Google Hat.
Theo Mai Hoa (Pcworld.com.vn)
            
            
                            Tin cùng chuyên mục
					 
									
										Apple sắp nâng cấp OLED cho iPad mini và MacBook Air
										31/10/25 16:10
									
								 
									
										Samsung xác nhận Galaxy S26: "Cách mạng hóa" trải nghiệm AI, trang bị camera hoàn toàn mới và chip riêng
										31/10/25 14:32
									
								 
									
										Chấn động Seoul: CEO Nvidia cùng lãnh đạo Samsung, Hyundai "đại tiệc gà bia" bàn về tương lai AI
										31/10/25 14:12
									
								 
									
										Vỡ mộng với robot "quản gia" giá 22.000 USD: Màn trình diễn ấn tượng hóa ra chỉ là trò "điều khiển từ xa" gây sốc
										31/10/25 10:20
									
								 
									
										Apple bán linh kiện chính hãng và dụng cụ sửa chữa iPhone 17, mở cánh cửa cho người dùng tự sửa tại nhà
										31/10/25 09:15
									
								 
									
										MacBook mới lột xác với thiết kế hoàn toàn mới, mỏng nhẹ hơn, màn hình OLED, có Dynamic Island và cảm ứng được
										31/10/25 07:58
									
								 
									
										Việt Nam tăng tốc xây dựng hạ tầng AI quốc gia
										30/10/25 20:46
									
								 
									
										Hé lộ nguyên nhân khiến Microsoft 365 "sập" toàn cầu
										30/10/25 15:45
									
								Tin mới nhất
					- Kẻ đánh thai phụ ở Đắk Lắk tiếp tục tham gia đánh nhau (31/10/25 23:10)
- ‘Choáng’ với loạt ‘siêu xe’ đình đám qua tay Trương Ngọc Ánh, dân mạng 'phát sốt' vì độ chịu chơi (31/10/25 22:43)
- Hà Nội xóa bỏ cơ chế “xin - cho”, siết chặt quản lý đầu tư hạ tầng đô thị (31/10/25 22:35)
- Trương Ngọc Ánh lao đao, từng phải bán tài sản để trả nợ trước khi bị bắt (31/10/25 22:25)
- Thái độ của bạn trai kém 14 tuổi khi Trương Ngọc Ánh bị bắt, khán giả phát hiện dấu hiệu lạ (31/10/25 22:02)
- Chia sẻ cuối cùng của Trương Ngọc Ánh trước khi bị bắt, giống hệt Ngân 98 và Hoàng Hường (31/10/25 21:55)
- Cựu Phó Chủ nhiệm Văn phòng Quốc hội Phạm Thái Hà kháng cáo xin giảm nhẹ hình phạt (31/10/25 21:44)
- Tình trạng Ngân 98 ra sao sau khi bị bắt? (31/10/25 21:10)
- Kinh tế Mỹ lao đao vì chính phủ đóng cửa, dữ liệu GDP quý 3 bị đình trệ (31/10/25 20:55)
- Tổng thống Donald Trump đồng ý giảm thuế với Trung Quốc, hạ nhiệt căng thẳng thương mại (31/10/25 20:44)
Bài đọc nhiều
											 
									
										Diễn viên Trương Ngọc Ánh bị bắt
									
								 
									
										Thái độ của bạn trai kém 14 tuổi khi Trương Ngọc Ánh bị bắt, khán giả phát hiện dấu hiệu lạ
									
								 
									
										Diễn viên Phi Ngọc Ánh livestream cầu cứu với gương mặt đầy máu
									
								 
									
										Vụ xây nhầm nhà trên đất người khác: "Thần đèn" vào cuộc, phát lộ sự thật oái oăm về kích thuốc lô đất
									
								 
									
										Phố cổ Hội An tan hoang sau trận lũ lịch sử: Nước mắt giữa bùn non và đổ nát
									
								