-
Bị tông hỏng đuôi ô tô ngày Tết, cặp vợ chồng Quảng Ninh gây "bão" mạng vì hành động lạ -
Khánh Thi lần đầu trải lòng về tin đồn "ghen tuông" khi xem Phan Hiển thăng hoa bên bạn nhảy -
Hành trình giành giật sự sống giữa đêm đen: Người đàn ông dũng cảm cứu 6 nạn nhân trong vụ chìm tàu kinh hoàng trên hồ Thác Bà -
Tình hình trật tự an toàn giao thông 9 ngày Tết Bính Ngọ 2026: Tai nạn giảm sâu nhưng vi phạm nồng độ cồn vẫn ở mức cao -
Tìm thấy nạn nhân cuối cùng vụ chìm tàu hồ Thác Bà, hé lộ kết quả test ma túy và giấy phép 2 lái tàu -
Nạn nhân vụ lật tàu hồ Thác Bà ám ảnh khoảnh khắc vợ con chìm dần, người thân nghẹn ngào vì hối hận -
Ngày cuối nghỉ Tết, hàng nghìn người đội mưa phùn đổ về Hà Nội -
Tìm thấy thêm 4 thi thể nạn nhân vụ chìm tàu ở hồ Thác Bà -
7 ô tô đâm nhau "dồn toa" trên cao tốc Phan Thiết - Dầu Giây, cửa ngõ TP.HCM tắc nghẽn ngày cuối nghỉ Tết -
Tai nạn lật tàu trên Hồ Thác Bà: 22 hành khách là anh em họ hàng, sống cùng thôn
Ôtô - Xe máy
29/10/2019 17:30Ferrari chuẩn bị ra mắt thiết kế động cơ V12 mới bớt ô nhiễm
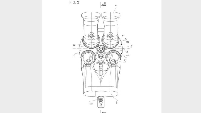
Ferrari vừa qua đã nộp bằng sáng chế cho Văn phòng Bằng sáng chế và Thương hiệu Mỹ dành cho một động cơ V12 mới sẽ có khả năng tiết kiệm nhiên liệu hơn so với động cơ 12 xylanh hiện tại của hãng.

Trong bằng sáng chế nói trên, Ferrari đã đưa ra hai phương pháp đốt khác nhau có thể cải thiện hiệu quả tiêu thụ nhiên liệu của động cơ. Đầu tiên, một lượng xăng nhỏ sẽ được phun vào buồng đốt ngay trước quá trình đánh lửa nhằm khiến dòng hòa khí nóng hơn. Việc này giúp cho bộ lọc chất xúc tác đạt được nhiệt độ tối ưu nhanh hơn, góp phần làm giảm khí thải ô nhiễm tại phân đoạn khởi động của xe.

Giải pháp thứ hai của Ferrari là trang bị thêm một buồng đốt phụ được lắp phía trên buồng đốt chính, từ đó nó được ngăn cách bởi vách ngăn và giao tiếp qua một hoặc nhiều cổng kết nối tự do. Nó cũng sở hữu riêng cho mình một bộ bugi thứ hai để xác định theo chu kỳ và chọn lọc sự đánh lửa của hòa khí có mặt trong buồng trước và kích hoạt phản ứng đốt cháy.

Vào tháng 9, Ferrari cho biết họ sẽ phải "đấu tranh" để giữ động cơ V12 hút khí tự nhiên 6.5 lít hiện tại của mình. Động cơ này gần đây đã buộc phải điều chỉnh để tuân thủ các quy định của Euro 6 và hãng đã có thể làm điều đó theo cách mà động cơ đạt chuẩn Euro 6 được trang bị trên 812 GTS vẫn tạo ra 789 mã lực giống như trên phiên bản mui cứng.
Thú vị hơn, Ferrari vẫn còn đang do dự cho việc giảm dung tích hoặc hybrid hóa động cơ V12 của mình nhằm đạt được hiệu quả khí thải tốt hơn. Đây cũng là phương pháp mà nhiều hãng siêu xe khác đã sử dụng ở thời điểm hiện tại.

Giám đốc kỹ thuật củal Ferrari, Michael Leiter, nói với Top Gear vào đầu năm nay rằng: "Một động cơ V12 hút khí tự nhiên không phải là một động cơ bị giảm dung tích, và đối với tôi, nó cũng không có nghĩa gì khi là một động cơ lai. Chúng tôi tất nhiên sẽ chiến đấu cho V12. Chúng tôi sẽ làm mọi thứ có thể để giữ động cơ này vì đây là cốt lõi cho thương hiệu của chúng tôi. Nhưng tạo ra một sự lai tạo của V12? Và LaFerrari được lai tạo để tạo hiệu suất cao. Trong tương lai, chúng tôi buộc phải xem xét phát thải và nếu bạn muốn động cơ V12 thải ít CO2 hơn, khi đó bạn sẽ phải giảm dung tích của động cơ này"./.
Theo CTV Huy Minh (VOV.vn)
- Bị tông hỏng đuôi ô tô ngày Tết, cặp vợ chồng Quảng Ninh gây "bão" mạng vì hành động lạ (22/02/26 23:27)
- Động thái bất ngờ của quán cà phê Noọng Ơi sau vụ cháy lớn đầu năm mới (22/02/26 23:21)
- Bắt khẩn cấp chủ quán cơm dùng xẻng truy đuổi du khách tại Vũng Tàu (22/02/26 23:11)
- Tìm thấy thi thể người cha trong vụ 3 cha con bị sóng cuốn mất tích tại Quảng Ngãi (22/02/26 22:34)
- Rời phố thị xô bồ, cô gái Gen Z tìm thấy "trạm sạc" tâm hồn tại viện dưỡng lão với chi phí chỉ 700.000 đồng/tháng (22/02/26 22:10)
- Thị trường vàng thế giới trước thềm tuần mới: Kỳ vọng bứt phá từ "bàn đạp" 5.100 USD (22/02/26 22:01)
- Khánh Thi lần đầu trải lòng về tin đồn "ghen tuông" khi xem Phan Hiển thăng hoa bên bạn nhảy (22/02/26 21:37)
- Hành trình giành giật sự sống giữa đêm đen: Người đàn ông dũng cảm cứu 6 nạn nhân trong vụ chìm tàu kinh hoàng trên hồ Thác Bà (22/02/26 21:15)
- Tình hình trật tự an toàn giao thông 9 ngày Tết Bính Ngọ 2026: Tai nạn giảm sâu nhưng vi phạm nồng độ cồn vẫn ở mức cao (22/02/26 21:03)
- Tìm thấy nạn nhân cuối cùng vụ chìm tàu hồ Thác Bà, hé lộ kết quả test ma túy và giấy phép 2 lái tàu (22/02/26 20:55)